
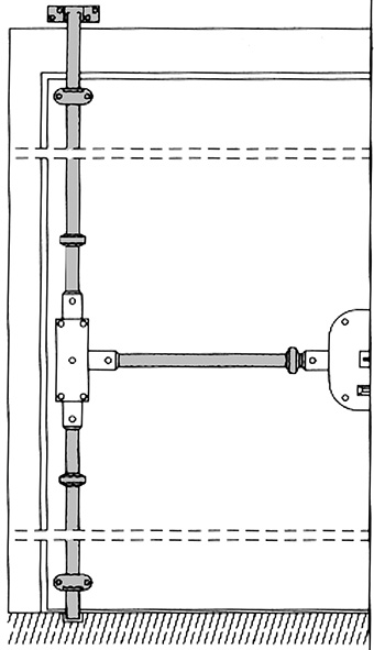
ASTE CR DERIVAZIONE ART.93-01
Kit aste telescopiche verniciate di DERIVAZIONE per serrature QUINTUPLICI. Da abbinare alle aste art.90/91/92 per poter completare le serrature quintuplici. Complete di accessori.
| Cod. | Descrizione Listino | Misura | U.M. | Conf. | Sc. | Listino |
|---|---|---|---|---|---|---|
| 847353 | ASTE CR DERIVAZIONE ART.93-01 | art.93-01 | KIT | 1 | 90,80 |
T.C.U. s.a.s. - (©) 2023